亚马逊CEO贝佐斯:人脸识别需要监管
亚马逊公司首席执行官贝佐斯日前表示,该公司的公共政策团队正在研究有关人脸识别的拟议法规,并打算提交给联邦议员。

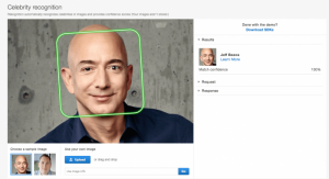
此前,亚马逊旗下的人脸识别系统Rekognition曾饱受外界批评,该公司员工和股东都曾就亚马逊向执法机关出售人脸识别技术一事提出抗议。
人脸识别作为一项新兴技术,带来了许多便利,但人脸识别可能被滥用的问题,已经引发了科技行业和监管部门的注意。此前,微软就曾多次发文,呼吁全世界都要防范人脸识别技术被滥用,并给社会带来副作用。
版权所有,未经授权不得以任何形式转载及使用,违者必究。
- AI编程冲刺“DeepSeek时刻”:00后团队用国产模型一键直出复杂应用,效果超越Claude Code2025-11-10
- 华为刚投的物理AI:首家国产世界模型公司2025-11-12
- Kimi K2 Thinking突袭!智能体&推理能力超GPT-5,网友:再次缩小开源闭源差距2025-11-07
- 比NanoBanana更擅长中文和细节控制!兔展&北大Uniworld V2刷新SOTA2025-11-05




